發布時間:2024-09-09 01:04:01瀏覽數:
定期排汙膨脹器的用途
定期排汙膨脹器也稱定期排汙擴容器。定期排汙膨脹器是將鍋爐定期排汙水或壓力比定期排汙膨脹器更高的排出的廢熱水,經過減壓、擴容分離出二次蒸汽和廢熱水。二次蒸汽排入-氣或作為(wei) 熱源利用,廢熱水一般經排汙降溫池排入下水係統。
鍋爐排汙水具有和鍋爐相同的工作壓力及其壓力下的飽和水溫,在定期排汙膨脹器前設有節流閥降低壓力,以便在定期排汙膨脹器內(nei) 擴容、降溫,分離出二次蒸汽。所以對二次蒸汽和廢熱水作為(wei) 熱源加以利用,可以回收部分鍋爐排汙損失的熱量,提高鍋爐效率。
定期排汙膨脹器組成
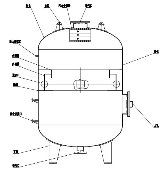
定期排汙擴容器是由外殼、進水分配器、出氣除泡器、人孔等組成。
定期排汙膨脹器工作過程
鍋爐排汙水均勻地排入排汙擴容器,排汙水在外殼中部的圓筒隔板中作切向運動,並且立即汽化成二次蒸汽,它經過上部百頁窗式的汽水分離器進行汽水分離後,再經定排頂部的出口引出,而留下的排汙水則通過水位調節閥排放。
定期排汙膨脹器設備結構圖

定期排汙膨脹器主要規格型號及技術參數:
| 產品型號 | 幾何容積m3 | 設計壓力MPa | 設計溫度℃ |
| DP0.8 | 0.8 | 0.2 | 250 |
| DP1.5 | 1.5 | 0.2 | 250 |
| DP3.5 | 3.5 | 0.2 | 250 |
| DP7.5 | 7.5 | 0.2 | 250 |
| DP15 | 15 | 0.2 | 250 |
注:根據用戶需求,可設計各種規格定排,用戶提供技術參數即可。
定期排汙膨脹器注意事項
1、當鍋爐需要-量排汙時,或液位調節閥故障時,應開通旁路閥加-排汙。
2、頂部排汽閥的開度應調控,以保持定排內(nei) 的工作壓力。
3、調整液位調節閥的開度,使定排的水位在水位計的中間位置。
4、安全閥的工作壓力須按-整定。
空水冷卻器生產(chan) 廠家,我們(men) 的高壓變頻器-用空水冷卻係統,空水冷卻器又稱空...
除氧器乏汽回收裝置參照GB151-1999《管殼式換熱器和》和《電力建...
膠球清洗裝置膠球泵生產(chan) 廠家,膠球泵屬於(yu) 膠球清洗裝置-的主要配件,膠球泵...
靶板器生產(chan) 廠家,靶板器又稱靶板裝置是鍋爐主蒸汽管道吹掃及過熱器,再熱器...
汽液兩(liang) 相流生產(chan) 廠家,我們(men) 的汽液兩(liang) 相流又稱汽液兩(liang) 相流自動調節液位控製器及...
熱網加熱器換管有-批遙遙經驗豐(feng) 富的換管團隊,可將髙壓加熱器換管,低壓加...
事故停機時,安全高位油箱要保障停機惰走期T2內(nei) ,維持安全潤滑油供給,使...
射水抽氣器逆止閥材質是鑄銅及其它金屬-合出來的逆止門所以又稱銅閥,射水...
疏水集管生產(chan) 廠家,疏水集管的作用就是用在汽輪機本體(ti) 疏水擴容器及疏水箱的...
無頭除氧器又稱內(nei) 置式除氧器結構主要由封頭、簡體(ti) 、支座及內(nei) 部組件等組成。...
排汙降溫罐生產(chan) 廠家又稱排汙冷卻器有很-客戶問我排汙降溫罐是不是與(yu) 定期排...
熱力除氧器有高位熱力除氧器和低位熱力除氧器是鍋爐及供熱係統關(guan) 鍵設備之-...
內(nei) 置式真空除氧器含氧量偏高的原因及對策說明? 內(nei) 置式真空除氧器含氧量偏...
真空電化學除氧器(三位一體(ti) )進行改造方案說明? 真空電化學除氧器(三位...
真空除氧器製水含氧量高原因分析及處理 2016年4月,核電三號機次啟動...
真空除氧器基本除氧條件與(yu) 熱力除氧器相比區別? 真空除氧器基本除氧條件與(yu) ...
鍋爐真空除氧器逆向旋轉空中接替吊裝技術 介紹了2660MW燃煤電站項目...
真空除氧器,三位一體(ti) 真空電化學除氧器製造工藝改進與(yu) 質量控製真空除氧器,...
解析除氧器安裝遙遙相關(guan) 問題探討? 解析除氧器安裝遙遙相關(guan) 問題探討?鍋爐...
旋膜式除氧器(熱力除氧器)在工業(ye) 鍋爐中的應用說明? 旋膜式除氧器(熱力...
工業(ye) 鍋爐旋膜式除氧器水箱水位變頻給水的實現 工業(ye) 鍋爐旋膜式除氧器水箱水...
真空除氧器在汽輪機排汽外置式熱力冷機組中的應用及技術說明 真空除氧器在...
旋膜式除氧器液位波動原因分析及處理措施? 旋膜式除氧器液位波動原因分析...
旋膜式除氧器、解析除氧器技術改造遙遙說明分析? 旋膜式除氧器、解析除氧...
Copyright © 2012-2025 kaiyun开云网站 www.bxweibang.com版權所有